|
|
Прорезка и точение канавок |
| 1 2 3 4 5 6 7 8 Возврат |
|
GHDR/L |
|
|
|
|
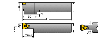
GHDR/L Резцы для наружной обработки |
|||||||||||
W |
T |
Обозначение |
HxB |
L |
F |
A |
E |
H4 |
Винт |
Ключ |
Пластины |
| 2.8-4 | 8 | GHDR/L 12-3 | 12x12 | 110 | 10.0 | 2.4 | 25 | 4 | SR 76-1022 | T-20/5 | GIP, GIF, GIPA, GIPY, GITM, GIM, GIMF, GIMY, GPV |
| 2.8-4 | 9 | GHDR/L 16-3 | 16x16 | 110 | 14.8 | 2.4 | 26 | 4 | SR M5x20 | HW 4 | |
| 2.8-4 | 9 | GHDR/L 16-3ST(1) | 16x16.1 | 78 | 15.0 | 2.2 | 26 | 4 | SR M5x20 | HW 4 | |
| 2.8-4 | 9 | GHDR/L 20-3 | 20x20 | 120 | 18.8 | 2.4 | 26 | - | SR M5x20 | HW 4 | |
| 2.8-4 | 9 | GHDR/L 25-3 | 25x25 | 135 | 23.8 | 2.4 | 26 | - | SR M5x20 | HW 4 | |
| 4-5 | 10 | GHDR/L 16-4 | 16x16 | 110 | 14.4 | 3.2 | 26 | 4 | SR M6x20 | HW 5 | |
| 4-5.4 | 10 | GHDR/L 16-4ST(1) | 16x15.7 | 78 | 14.0 | 3.4 | 25 | 4 | SR M6x20 | HW 5 | |
| 4-5 | 10 | GHDR/L 20-4 | 20x20 | 120 | 18.4 | 3.2 | 26 | - | SR M6x20 | HW 5 | |
| 4-5 | 10 | GHDR/L 25-4 | 25x25 | 135 | 23.4 | 3.2 | 27 | - | SR M6x25 | HW 5 | |
| 4-5 | 10 | GHDR/L 32-4 | 32x32 | 150 | 30.4 | 3.2 | 27 | - | SR M6x25 | HW 5 | |
| 5-6.4 | 12 | GHDR/L 20-5 | 20x20 | 120 | 17.9 | 4.2 | 29 | - | SR M6x20 | HW 5 | |
| 5-6.4 | 12 | GHDR/L 25-5 | 25x25 | 135 | 22.9 | 4.2 | 29 | - | SR M6x25 | HW 5 | |
| 5-6.4 | 12 | GHDR/L 32-5 | 32x32 | 150 | 29.9 | 4.2 | 29 | - | SR M6x25 | HW 5 | |
| 6.6-8.3 | 25 | GHDR/L 25-8 | 25x25 | 150 | 22.0 | 6 | 40 | 7.6 | SR M6x25 | HW 5 | GIF 8, GIPA/GIDA 8, GDMY 8... GDMF, GDMU |
| 6.6-8.3 | 25 | GHDR/L 25-8 | 32x32 | 170 | 29.0 | 6 | 40 | - | SR M6x25 | HW 5 | |
| 6.6-8.3 | 12 | GHDR/L 25-812 | 25x25 | 140 | 22.0 | 5.9 | 33 | - | SR M6x25 | HW 5 | |
| 6.6-8.3 | 12 | GHDR/L 32-812 | 32x32 | 160 | 29.0 | 5.9 | 33 | - | SR M6x25 | HW 5 | |
| 6.6-8.3 | 36 | GHDR/L 25-836 | 32x32 | 170 | 28.9 | 6.3 | 56 | 8 | SR M8x30 | HW 6 | |
| 8 | 25 | GHDR/L 25-8А | 25x25 | 150 | 22.0 | 6 | 40 | 7.6 | SR M6x25 | HW 5 | GIDA 80-40 |
| 8 | 25 | GHDR/L 32-8А | 32x32 | 170 | 29.0 | 6 | 40 | - | SR M6x25 | HW 5 | |
| 7.2-10 | 16.5 | GHDR/L 25-P8 | 25x25 | 150 | 21.8 | 6.5 | 35.7 | - | SR M8x25 | HW 6 | GIMY/GYMF,
8.../10...GPV |
| 7.2-10 | 16.5 | GHDR/L 32-P8 | 32x32 | 170 | 28.8 | 6.5 | 35.7 | - | SR M8x25 | HW 6 | |
| 8.6-11.1 | 25 | GHDR/L 25-10 | 25x25 | 150 | 21.3 | 7.4 | 43 | 7.6 | SR M8x30 | HW 6 | GIF 10,
GDPY10/11, GDPU10/11 |
| 8.6-11.1 | 25 | GHDR/L 32-10 | 32x32 | 170 | 28.3 | 7.4 | 43 | - | SR M8x30 | HW 6 | |
| 8.6-11.1 | 25 | GHDR/L 40-10 | 40x40 | 200 | 36.3 | 7.4 | 43 | - | SR M8x30 | HW 6 | |
|
(1) GHDR/L-ST - для многошпиндельных станков и станков STAR |
|
GHDR/L/N...12/14... |
|
|
|
|
GHDR/L/N...12/14... Резцы для наружной обработки |
||||||||||
W |
T |
Обозначение |
HxB |
L |
F |
A |
E |
H4 |
Винт |
Пластины |
| 12 | 30 | GHDR/L 32-12 | 32x32 | 170 | 27.3 | 9.5 | 50 | - | SR M8x30 | GIMY 1260, GPV TIGER 1453-152 |
| 13-17.4 | 12 | GHDR/L 2525 14T12 | 25x25 | 140 | 19 | 12 | 41 | SR M8x25 | TIGER 14/16/17 GPV 14/17 |
|
| 13-17.4 | 12 | GHDR/L 3232 14T12 | 32x32 | 170 | 26 | 12 | 41 | SR M8x30 | ||
| 13-17.4 | 38 | GHDR/L 3232 14T38 | 32x32 | 170 | 26 | 12 | 59 | 8 | SR M8x30 | TIGER 1453-152 TIGER 16.63-1.52 TIGER 1740-200 GPV |
| 38 | GHDN 3232 14T38 | 32x32 | 170 | 16 | 12 | 57.5 | 8 | SR M8x30 | ||
| 38 | GHDR/L 4040 14T38 | 40x40 | 170 | 34 | 12 | 59 | - | SR M8x30 | ||
| 38 | GHDN 4040 14T38 | 40x40 | 170 | 20 | 12 | 57.5 | - | SR M8x30 | ||
| 45 | GHDN 4040 14T45 | 40x40 | 170 | 20 | 12 | 55.5 | - | SR 76-1285(1) | ||
|
Ключ: HW 6. (1) Ключ: HW 5. |
|
THDR/L/N...20... |
|
|
|
|
THDR/L/N...20... Резцы для наружной обработки |
||||||||||
W |
T |
Обозначение |
HxB |
L |
F |
A |
H4 |
Винт |
Ключ |
Пластины |
| 20.06 | 38 | THDR/L 3232-20T38 | 32x32 | 170 | 23.3 | 17.5 | 8 | SR 14-519 | T-20/61 | TIGER 2006-152 |
| 38 | THDN 3232-20T38 | 32x32 | 170 | 16.0 | 17.5 | 8 | ||||
| 20.06 | 45 | THDR/L 4040-20T45 | 40x40 | 170 | 31.3 | 17.5 | - | |||
| 45 | THDN 4040-20T45 | 40x40 | 170 | 20.0 | 17.5 | - | ||||
|
SXCNN |
|
|
|
|
SXCNN Резцы для наружной обработки |
||||||||||
W |
T |
Обозначение |
H |
B |
L |
Torx ключ |
Ключ |
Пластины |
||
| 13.0 | 20.0 | SXCNN 1212 K13-05 | 12 | 12 | 125 | SR 76-2068 | T-20/5 | XNUW 1305-05 | ||
| 13.0 | 23.0 | SXCNN 1414 K13-05 | 14 | 14 | 125 | SR 76-2068 | ||||
| 13.0 | 23.0 | SXCNN 1616 K13-05 | 16 | 16 | 125 | SR 14-591 | ||||
| 13.0 | 23.0 | SXCNN 2020 P13-05 | 20 | 20 | 170 | SR 14-591 | ||||
| 13.0 | 23.0 | SXCNN 2525 P13-05 | 25 | 25 | 170 | SR 14-591 | ||||
| 14.5 | - | SXCNN 1212 K14-03 | 12 | 12 | 125 | SR 76-2067 | T-15/5 | XNUW 14T3-03 | ||
| 14.5 | 18.0 | SXCNN 1616 K14-03 | 16 | 16 | 125 | |||||
| 14.5 | 18.0 | SXCNN 2020 P14-03 | 20 | 20 | 170 | |||||
| 14.5 | 18.0 | SXCNN 2525 P14-03 | 25 | 25 | 170 | |||||
| 20.5 | - | SXCNN 1616 K20-05 | 16 | 16 | 125 | SR 14-591 | T-20/5 | XNUW 2006-05 | ||
| 20.5 | 24.0 | SXCNN 2020 P20-05 | 20 | 20 | 170 | |||||
| 20.5 | 24.0 | SXCNN 2525 P20-05 | 25 | 25 | 170 | |||||
| 20.5 | 24.0 | SXCNN 3232 P20-05 | 32 | 32 | 170 | |||||
| 24.5 | 28.0 | SXCNN 2525 P24-05 | 25 | 25 | 170 | SR 14-591 | T-20/5 | XNUW 2406-05 | ||
| 24.5 | SXCNN 3232 P24-05 | 32 | 32 | |||||||
| 36.5 | - | SXCNN 3232 P36-10 | 32 | 32 | 170 | SR 14-591 | T-20/5 | XNUW 3606-10 | ||
|
TGDR/L |
|
|
|
|
TGDR/L Резцы для наружной обработки |
||||||||||
W |
Tmax |
Обозначение |
HxB |
L |
F |
E |
H4 |
Винт |
Пластины |
Hex ключ |
| 3 | 7.5 | TGDR/L 1616-3M | 16x16 | 100 | 14.75 | 30.5 | 6 | SR M5x16 | TGMF 3.. | HW 4 |
| 3 | TGDR/L 2020-3M | 20x20 | 125 | 18.75 | 30.5 | - | SR M5x20 | |||
| 3 | TGDR/L 2525-3M | 25x25 | 140 | 23.75 | 30.5 | - | SR M5x20 | |||
| 4-5 | 9.0 | TGDR/L 1616-4M | 16x16 | 100 | 14.25 | 32.2 | 6 | SR M5x20 | TGMF/P 4/5 | HW 4 |
| 4-5 | 9.0 | TGDR/L 2020-4M | 20x20 | 125 | 18.25 | 32.2 | 6 | |||
| 4-5 | 15.5 | TGDR/L 2525-4M | 25x25 | 140 | 23.75 | 34 | - | |||
| 5 | 18 | TGDR/L 2525-5M | 25x25 | 140 | 22.75 | 37 | - | SR M5x25 | TGMF/P 5.. | HW 4 |
| 5 | 22 | TGDR/L 3232-5M | 32x32 | 150 | 29.75 | 45 | - | SR M6x25 | HW 5 | |
| 6-6.35 | 22 | TGDR/L 2525-6M | 25x25 | 150 | 22.5 | 43 | - | SR M6x25 | TGMF 6.. | HW 4 |
| TGDR/L 3232-6M | 32x32 | 150 | 29.5 | 43 | - | HW 5 | ||||
|
GHGR/L |
|
|
|
|
GHGR/L Резцы для глубокой наружной обработки |
|||||||||||
W |
Tmax |
Обозначение |
HxB |
L |
F |
A |
E |
H4 |
Винт |
Ключ |
Пластины |
| 2.2-2.4 | 34 | GHGR/L 20-2 | 20x20 | 120 | 19.2 | 1.7 | 33 | - | SR M5x20 | HW 4 | GIP, GIMP GIG, GIM |
| GHGR/L 25-2 | 25x25 | 140 | 24.2 | 1.7 | 33 | - | |||||
| 3-4 | 40 | GHGR/L 16-3 | 16x16 | 110 | 14.7 | 2.5 | 36 | 4 | SR M6x20 | HW 5 | GIP, GIF GIPA, GIPY GITM, GIM GPV, GIMF GIMY |
| 34 | GHGR/L 16-3ST(1) | 16x16 | 78 | 15.0 | 2.4 | 33 | - | SR M6x20 | |||
| 40 | GHGR/L 20-3 | 20x20 | 120 | 18.7 | 2.5 | 36 | - | SR M6x20 | |||
| 40 | GHGR/L 25-3 | 25x25 | 140 | 23.7 | 2.5 | 36 | - | SR M6x25 | |||
| 4-5 | 40 | GHGR/L 16-4 | 16x16 | 110 | 14.4 | 3.2 | 36 | 4 | SR M6x20 | ||
| 40 | GHGR/L 20-4 | 20x20 | 120 | 18.2 | 3.5 | 36 | - | SR M6x20 | |||
| 40 | GHGR/L 25-4 | 25x25 | 140 | 23.2 | 3.5 | 36 | - | SR M6x25 | |||
| 50 | GHGR/L 25-425 | 25x25 | 140 | 23.2 | 3.5 | 41 | - | SR M6x25 | |||
| 5-6.4 | 50 | GHGR/L 25-5 | 25x25 | 140 | 22.9 | 4.2 | 41 | - | SR M6x25 | ||
| 50 | GHGR/L 32-5 | 32x32 | 150 | 29.9 | 4.2 | 41 | - | SR M6x25 | |||
| 6-8 | 60 | GHGR/L 25-630 | 25x25 | 140 | 22.3 | 5.4 | 45 | - | SR M6x25 | ||
| 64 | GHGR/L 32-632 | 32x32 | 170 | 29.4 | 5.4 | 50 | - | SR M6x25 | |||
| 1 2 3 4 5 6 7 8 Возврат |